Фаркоп Steinhof для SUBARU FORESTER 2013-2019г. Артикул S-370
| Нагрузки | 80/2150 |
| Год выпуска | FORESTER (SJ) 2013-2019г. |
| Электрика в комплекте | Без электрики |
| Вырез | Да |
| Тип шара | A |
| Фирма производитель | Steinhof |
| Артикул | S-370 |
| Инструкция по установке | В комплекте |
| Наличие | Да |
| Блок согласования | Да |
| Время установки | 2 часа |
| Гарантия на фаркоп | 1 год |
| Год выпуска | 2013-2019 |
| Диаметр шара,мм | 50 |
| доп. Сверлить | Не надо. |
| Колпачок на шар | Почти всегда есть |
| Купить фаркоп | Сегодня |
| Ориентировочное время монтажа электрики | 1 час |
| Оценка по 5 бальной схеме | 5 |
| Покрытие балки фаркопа | Катафорезная окраска |
| Расположение фаркопа | Балка фаркопа внутри бампера |
| Резать бампер | Вырез в бампере-Да |
| Сертификат европейский | Есть |
| Снимать бампер | Да |
| Страна происхождения | Польша |
| Толщина балки | 5мм |
| Толщина кронштейнов | 10мм |
| Установка фаркопа | Сегодня |
| Утилизация усилителя бампера | Да |
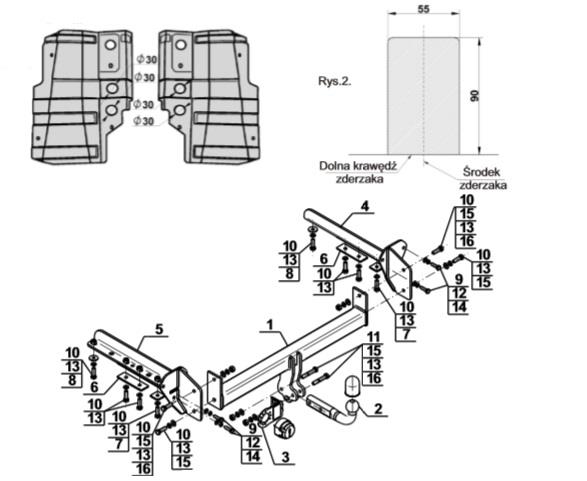
Если вы добрались до этой страницы, значит, вы хотите купить фаркоп для SUBARU FORESTER. с 2013 г.в. Это тягово-сцепное устройство с шаром типа - A, предназначенное для модели SUBARU FORESTER. Изготовителем фаркопа является компания Steinhof, производство Польша. Более подробная информация о производителе фаркопов доступна на вкладке производителей. Система крепления крюка фаркопа S-370 представляет собой условно съемный шар (на двух болтах). Без электрики. Согласно техническим данным Steinhof, максимальный вес буксируемого прицепа не должен быть выше 2150 кг, а вертикальная нагрузка на шар крюка – 80 кг. Для установки фаркопа требуется демонтаж бампера. Требуется подрезка бампера. Полные инструкции по установке фаркопа включены в комплект. Если есть Европейское одобрение изделия, то оно находится на паспортной табличке. Фаркоп S-370 отлично подходит для буксировки прицепов и для перевозки велосипедов на платформе, который может быть установлен непосредственно на фаркоп. Соответствующие велокрепления и платформы можно найти в разделах нашего сайта. Безусловно, наш фаркоп будет полезен в повседневном использовании в течение многих лет.
-
Фаркоп для SUBARU FORESTER. с 2018 г.в.
13585 руб. заказать -
Фаркоп для SUBARU FORESTER. с 2016 г.в.
12155 руб. заказать -
Фаркоп для SUBARU FORESTER. с 2013 г.в.
4590 руб. заказать -
Фаркоп для SUBARU FORESTER. с 2013 г.в.
7279 руб. заказать -
Фаркоп для SUBARU FORESTER. с 2013 г.в.
32550 руб. заказать
