Фаркоп Auto-Hak для RENAULT KANGOO 2008-2019г. Артикул G 54
| Нагрузки | 75/1350 |
| Год выпуска | KANGOO 2008-2019г. |
| Электрика в комплекте | В комплекте,если смарт не нужен |
| Вырез | Нет |
| Тип шара | A |
| Фирма производитель | Auto-Hak |
| Артикул | G 54 |
| Инструкция по установке | В комплекте |
| Наличие | Да |
| Блок согласования | Да |
| Вес фаркопа | 16.9 |
| Время установки | 2 часа |
| Гарантия на фаркоп | 1 год |
| Год выпуска | 2008-2019 |
| Диаметр шара,мм | 50 |
| доп. Сверлить | Не надо. |
| Колпачок на шар | Есть |
| Купить фаркоп | Сегодня |
| Ориентировочное время монтажа электрики | 1 час |
| Оценка по 5 бальной схеме | 5 |
| Покрытие балки фаркопа | Катафорезная окраска |
| Расположение фаркопа | Балка фаркопа внутри бампера |
| Резать бампер | Без выреза в бампере |
| Сертификат европейский | Есть |
| Снимать бампер | Да |
| Страна происхождения | Польша |
| Толщина балки | 5мм |
| Толщина кронштейнов | 10мм |
| Установка фаркопа | Сегодня |
| Утилизация усилителя бампера | Нет |
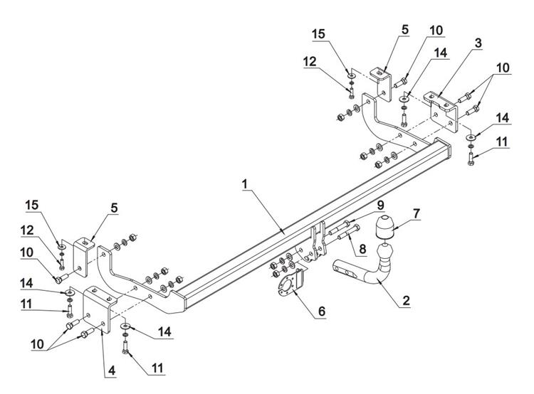
Если вы добрались до этой страницы, значит, вы хотите купить фаркоп для RENAULT KANGOO. Без выреза в бампере. с 2008 г.в. Это тягово-сцепное устройство с шаром типа - A, предназначенное для модели RENAULT KANGOO. Изготовителем фаркопа является компания Auto-Hak, производство Польша. Более подробная информация о производителе фаркопов доступна на вкладке производителей. Система крепления крюка фаркопа G 54 представляет собой условно съемный шар (на двух болтах). В комплекте,если смарт не нужен. Согласно техническим данным Auto-Hak, максимальный вес буксируемого прицепа не должен быть выше 1350 кг, а вертикальная нагрузка на шар крюка – 75 кг. Для установки фаркопа требуется демонтаж бампера. Не требуется подрезка бампера. Полные инструкции по установке фаркопа включены в комплект. Если есть Европейское одобрение изделия, то оно находится на паспортной табличке. Фаркоп G 54 отлично подходит для буксировки прицепов и для перевозки велосипедов на платформе, который может быть установлен непосредственно на фаркоп. Соответствующие велокрепления и платформы можно найти в разделах нашего сайта. Безусловно, наш фаркоп будет полезен в повседневном использовании в течение многих лет.
-
Фаркоп для RENAULT KANGOO. Без выреза в бампере. с 2008 по 2013 г.в.
6171 руб. заказать -
Фаркоп для RENAULT KANGOO. Без выреза в бампере. с 2008 по 2013 г.в.
5021 руб. заказать -
Фаркоп для RENAULT KANGOO. Без выреза в бампере. с 2008 г.в. - (искл. BeBop.)
8080 руб. заказать -
Фаркоп для RENAULT KANGOO. Без выреза в бампере. с 2008 г.в.
8480 руб. заказать -
Фаркоп оцинкованный для RENAULT KANGOO. Без выреза в бампере. с 2010 г.в.
15480 руб. заказать
